下一代谷歌眼睛 開啟極致體驗
來源: 編輯:vbeiyou 時間:2015-04-16 05:28人閱讀
非常在線 2015年4月16日消息,隨著科技的發展,人們的生活發生著翻天覆地的變化,在觀念和生活方式上都是如此。在快節奏的生活中,對效率追求越來越高,各大電子廠商更是看準了商機,推出一系列可以使人們的生活更加方便、快捷的產品,如智能手表、智能手環、智能服飾等一系列智能穿戴式設備。
我們都知道,在智能穿戴式設備中,智能眼鏡算是較成功的產品了,而作為智能眼鏡領域的“始祖”——谷歌眼鏡,這個曾被看做是顛覆未來的產品,卻在今年1月19日這天宣布停止出售谷歌眼鏡,并把該項目移出神秘的Google?X實驗室。這一決定讓“反人類”“高精尖”的谷歌眼鏡從我們的視野中漸漸消失。
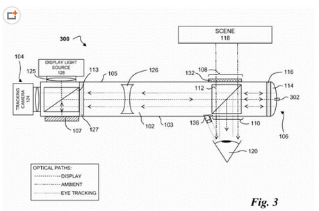
暫時的離開,是為了更好的相聚,谷歌眼睛就是如此。據悉,谷歌正在重新設計智能眼鏡,目前這個項目正在由iPod之父、智能家居品牌創始人托尼·法德爾(Tony?Fadell)領導下的團隊負責開發。近日,有消息稱谷歌公司又獲得了一項新專利,該專利的內容為利用視線追蹤用戶界面。根據該專利的內容來看,下代谷歌眼鏡或將加入眼球追蹤功能,不過專利中并未提到該技術會被用運到下一代谷歌眼鏡中,所以它也有可能是Google申請的一個保護性專利。
即便是目前暫時還不清楚下一代Google?Glass會變成什么樣,但人們還是滿懷期待,期待著看到它所帶來的驚喜。據了解,如果戴上搭載眼球追蹤功能的智能眼鏡走在街上,它會隨著你視線的移動,而自動進行檢索,當你注視著某個特定對象時,它便會向你推送與之相關的評論及商品等信息。
比如,當你注視著某家餐廳的招牌,或是某個商店的商品時,谷歌眼鏡就會在后臺幫你檢索有關這家餐廳的網友評論,或給出關于你所關注的這個商品的相關詳細信息,像交易信息、價格、及比較網上商店是否有更便宜的價格等。
可以肯定的是谷歌這一絕妙的創意,將會極大的方便人們的生活,提高工作效率,同時還給人們留下了無限的遐想空間。
有消息稱,谷歌將在今年年底推出下一代谷歌眼鏡,屆時就可以得到所有我們想要的答案了,耐性等待吧!


分享到:
本站所有文章、數據、圖片均來自互聯網,一切版權均歸源網站或源作者所有。
如果侵犯了你的權益請來信告知我們刪除。郵箱:business@qudong.com
標簽:
Google
上一篇:人走茶就涼?非也非也